人们都以为干工程的能挣大钱,个个都是土豪。事实上招投标基本上都是内定,如果此前没有运作好,根本就不用去参加。这些有内定能耐的人,基本上都是招标代理商。
此前,国家能源局曾曝光电网工程“潜规则”:基本只让自己的关联企业中标,并在其官方网站上发布了名为《2015年110kV及以上在建电网工程执行承装(修、试)电力设施许可制度情况专项监管报告》(以下简称《报告》),对国内电网工程建设中存在的问题进行了披露、曝光!
在去年6月至12月期间,国家能源局在全国范围内对110kV及以上在建电网工程执行承装(修、试)电力设施许可制度情况进行了专项监管,监管重点包括电力设施许可管理制度、工程建设过程中是否存在转包或违法分包,以及电力设施企业公平开放等问题。
能源局本次专项监管工作共涉及全国110kV及以上在建电网工程项目约3590个,相关电网企业以及其他电力设施企业约723家。经过对其中约566个在建工程项目的现场检查,抽查率达到了约15.9%,其中发现存在问题的工程项目181个,约占抽查在建工程项目数的32%。
国家能源局指出:国家电网公司经营区域内的24个省(区、市)在建电网工程项目,电网企业所属或关联企业整体中标率约为92.4%;南方电网公司经营区域内的5个省(区)在建电网工程项目,关联企业整体中标率约为67.7%;内蒙古电力公司负责经营的内蒙古(西部)地区,在建电网工程项目关联企业整体中标率约为39%。
基于监管数据,国家能源局在《报告》中指出:目前110kV及以上在建电网工程项目在施工发包环节虽已基本面向社会开放,符合招标条件要求的各类所有制企业均可参与投标,但中标单位仍以关联企业为主。
电网企业系统外的企业,整体中标率相对较低,而其中绝大部分参与投标的系统外民营承装(修、试)企业很难在工程发包环节中标,普遍以专业或劳务分包的形式参与一线施工活动。
对于这些问题,国家能源局表示,将对电网及承装(修、试)电力设施企业提出了明确的监管要求,在电网施工活动中将各项许可管理制度进一步落实到位。
下一步,国家能源局派出机构将依法依规对相关问题企业采取通报批评、责令整改、行政处罚等监管闭环措施,对于无证及伪造许可证施工企业还将被列入“黑名单”,禁止从事承装(修、试)电力设施活动。
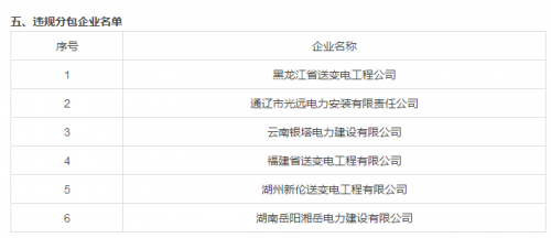
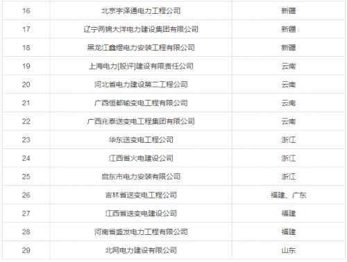
附:违规、问题企业名单





切换行业




正在加载...

