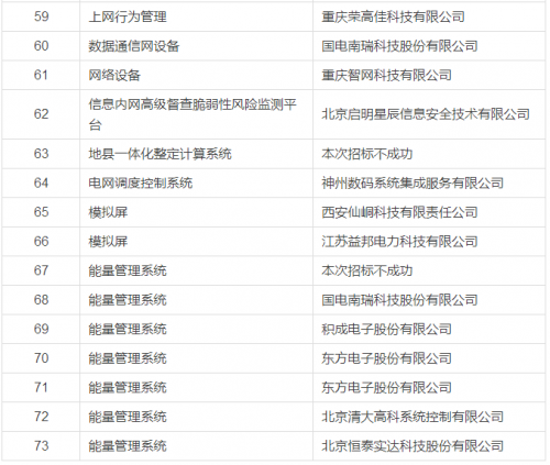
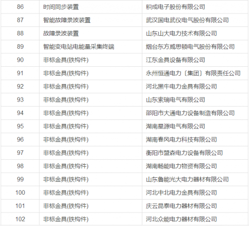
为了给大家提供更好的采购依据,小编跟据国网发布的讯息,整理汇总了青海、陕西、重庆、安徽、湖南五大电力公司最新的中标公告,涉及产品包括配电箱、开关柜、互感器等,具体名单如下:







[pagebreak]



.png)






日期:2016-04-26 来源:电老虎
能源资讯一手掌握,关注 "国际能源网" 微信公众号
看资讯 / 读政策 / 找项目 / 推品牌 / 卖产品 / 招投标 / 招代理 / 发文章
扫码关注
免责声明:本文仅代表作者本人观点,与国际电力网无关,文章内容仅供参考。凡本网注明"来源:国际电力网"的作品,均为本站原创,转载请注明“来源:国际电力网”!凡本网注明“来源:XXX(非国际电力网)”的作品,均转载自其它媒体,转载目的在于传递更多信息,并不代表本网赞同其观点和对其真实性负责。
如因作品内容、版权和其它问题需要同本网联系的,请在相关内容刊发之日起30日内进行,我们将第一时间进行删除处理 。联系方式:400-8256-198